Porsche estuda solução híbrida que junta mudanças manuais e automáticas; patente já foi submetida
©PorscheA Porsche registou uma patente para um selector ‘shift-by-wire’ que pode alternar entre funcionamento automático e uma experiência de condução «inspirada nas caixas manuais tradicionais». O pedido foi feito junto do respectivo organismo alemão, o Deutsches Patent und Markenamt, escreve o CarBuzz.
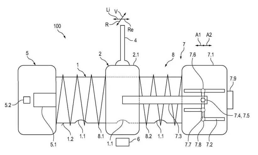
No modo automático, o condutor move a alavanca para a frente e para trás para alternar entre posições como ‘Drive’, ‘Neutral’ e ‘Reverse’. Já num segundo modo, a alavanca passa a operar num padrão em ‘H’, semelhante ao de uma caixa manual convencional. Neste caso há um «pedal de embraiagem simulado» a completar a experiência.
Como se trata de um sistema ‘shift-by-wire’, não há uma ligação mecânica directa entre a alavanca e a transmissão, tal como no ‘drive by wire’, uma solução que vimos recentemente no Peugeot Polygon. Em vez disso, temos motores eléctricos e molas «para recriar a resistência e o tacto típicos de uma caixa manual».

A solução aproxima-se, em teoria, de soluções presentes em modelos de nicho, como o Koenigsegg CC850. Contudo, a abordagem da Porsche centra-se na «interface com o condutor e não numa arquitectura de transmissão especialmente complexa». Para já, não há garantias de que este sistema venha a chegar aos futuros modelos da marca.











